四川长虹(SH:600839 计划以超7亿港元的价格出售控股子公司部分股份,以实现后者的私有化。 9月22日晚间,四川长...
美联储宣布降息25个基点 当地时间9月17日,美联储最新的联邦公开市场委员会(FOMC)货币政策会议纪要显示,美联储决定...
9月22日,金字火腿(002515.SZ)发公告,全资子公司福建金字半导体有限公司拟以自有或自筹资金不超过人民币3亿元通过增资...
记者 辛圆 据深圳市中级人民法院官方微信号周一发布消息,2025年9月19日至22日,广东省深圳市中级人民法院一...
因涉嫌信息披露违法违规,绝味食品(603517.SH 及其董事长等被处罚,公司股票拟被ST。 绝味食品日前发布公告称,因...
据第一财经,根据最新监管要求,近期,跨境互联网券商富途控股、老虎证券进一步关闭中国内地居民的开户通道。 富途客服提供的信...
近日,官方发布的调查报告,披露了知名医药研发外包服务(CRO)企业康龙化成(300759.SZ/03759.HK)一起实验室事...
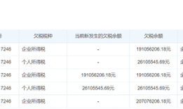
界面新闻记者 | 陈慧东 绝味食品因五年间未确认加盟门店装修业务收入被实施其他风险警示(ST)的公告,揭开了这家卤味巨头...
界面新闻记者 | 程璐 界面新闻编辑 | 文姝琪 阿里的到店业务终于拓展至交易环节。 9月20日,周六早上8点...
由全智贤主演的韩剧《暴风圈》近日在Disney+平台上线,剧中有关中国的剧情争议持续发酵,引发跨国舆论抵制和品牌切割。...